| নং | শিরোনাম | সেবার ধাপ | কার্যকলাপ |
|---|---|---|---|
| | |||
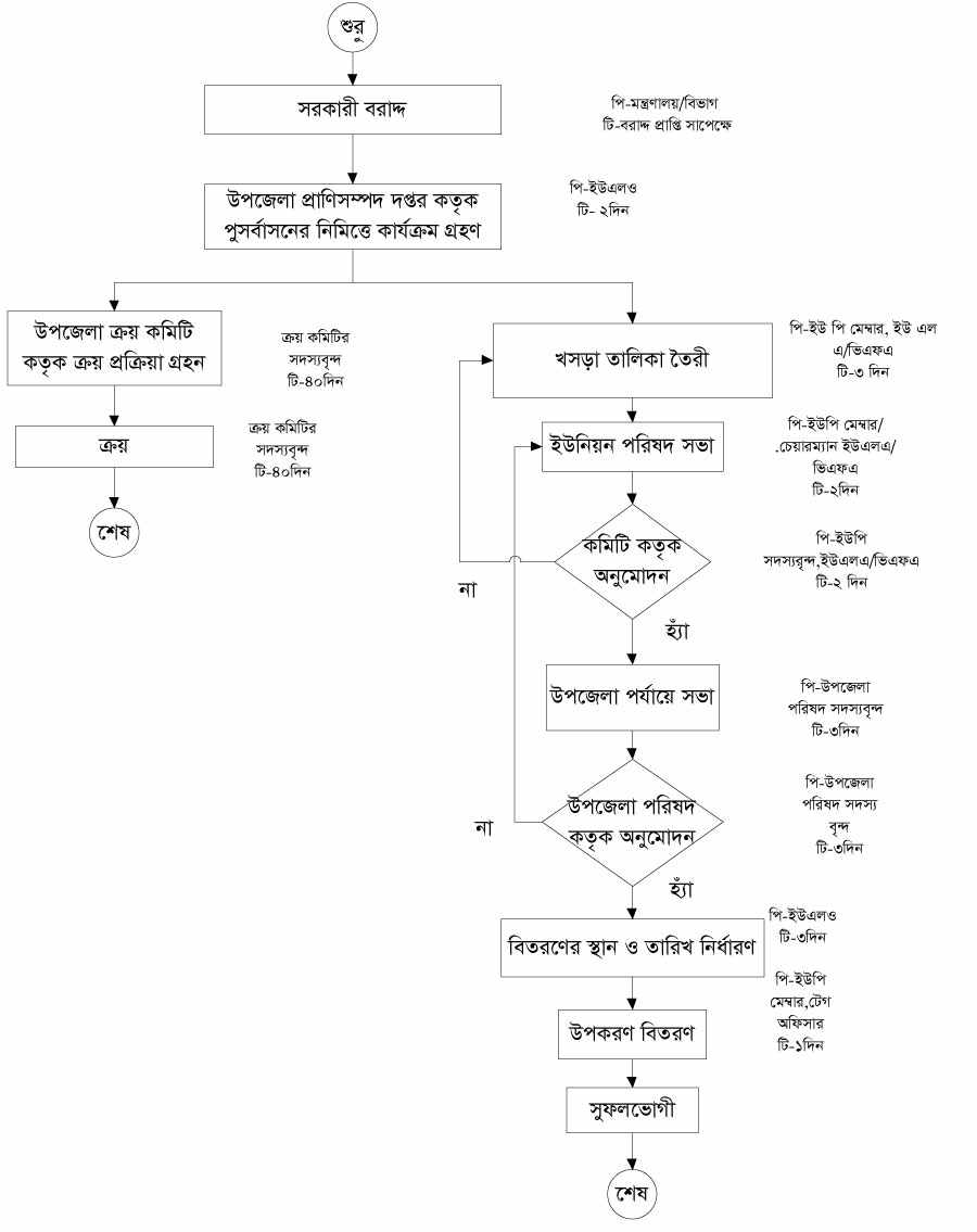
| ১ | পুর্ণবাসন ও উপকরণ সহায়তা | দেখুন | |
| ২ | প্রশিক্ষণ কার্যক্রমের প্রক্রিয়া | দেখুন | |
| ৩ | প্রাণিজাত উৎপাদিত পন্য বিক্রয় প্রক্রিয়া | দেখুন | |
| ৪ | বার্ড ফ্লু ক্ষতিপূরণ প্রদান কার্যক্রম | দেখুন | |
| ৫ | গবাদি পশু ও হাস-মুরগির টিকাদান কর্মসূচী | দেখুন | |
| ৬ | গবাদি পশুর চিকিৎসা প্রদানের প্রক্রিয়া | দেখুন | |
| ৭ | ঋণ বিতরণ কার্যক্রম প্রক্রিয়া | দেখুন | |
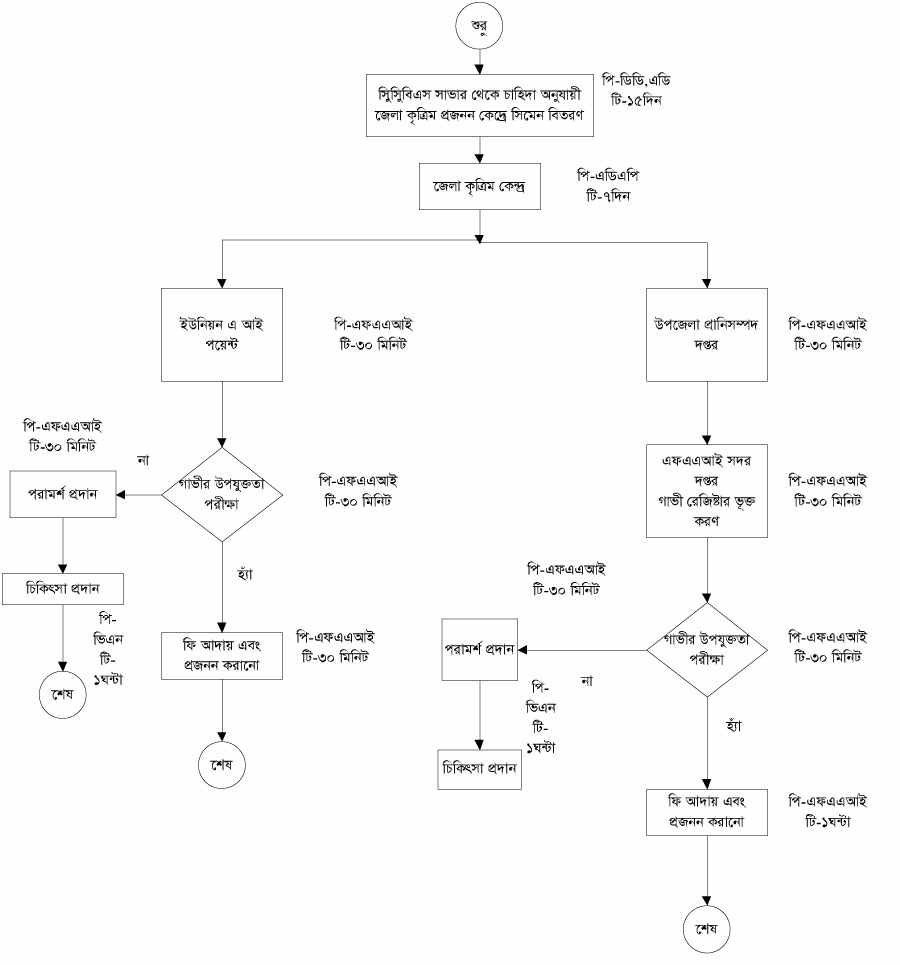
| ৮ | কৃত্রিম প্রজনন সম্প্রসারণ প্রক্রিয়া | দেখুন |